● 水油兩用:可在室溫~300℃溫度范圍任意設定(介質純水或甲基硅油)。;
● 外循環功能:耐高溫離心噴流循環泵可以把槽內被恒溫液體外引,建立第二恒溫場,控制機外部實驗容器,揚程5米。
● 溫度控制功能:置入集成式新一代PID自動溫度控制程序,配備大屏幕高亮液晶屏,中英文對照顯示,數顯分辨率為:0.01℃,確保設備運行穩定。
●內循環功能:采用無熱量離心循環泵,避免傳統水泵因自身產熱而影響槽體溫場。內循環系統為多孔U型回流循環原理設計,實現了槽體內流場和溫度場的紊流和高度均勻。
●機身外殼采用防老化靜電噴塑技術,內膽和臺面采用優質S304拉絲不銹鋼材質.。
●做工精細的機箱前面板和臺面,加上獨特的人性化R圓角設計結構,可避免操作人員在不經意間被棱角所傷。
●安全保護裝置:
1.具有斷電保護功能
2.具有上下限溫度報警設定功能
3.低水位保護和報警功能
4.溫度失控保護和報警功能
5.加熱裝置具有低水位防干燒、防爆功能
●可選配功能指南
1.可選配加長外接式PT100溫度傳感器,可實時檢測和控制外循環時外部體系的溫度。
2.可選配內置1~30段溫度控制程序,可進行自動程序控溫,實時顯示設定溫度-時間程序運運行狀態。
3.可選配RS232或RS485通訊接口,輕松連接上位機,帶有ModbusRTU通訊協議。
4.可選配設計、安裝磁力攪拌系統,可把放入恒溫槽工作室內燒杯中的液態樣品直接進行攪拌,無需外接立式攪拌機,減少冗繁操作。
5.可選配槽體內置的冷卻盤管,對系統的放熱反應進行快速的降溫和控制。
6.可選配高度可調浸入式載物平臺,輕松調節浸入樣品的液面高度。
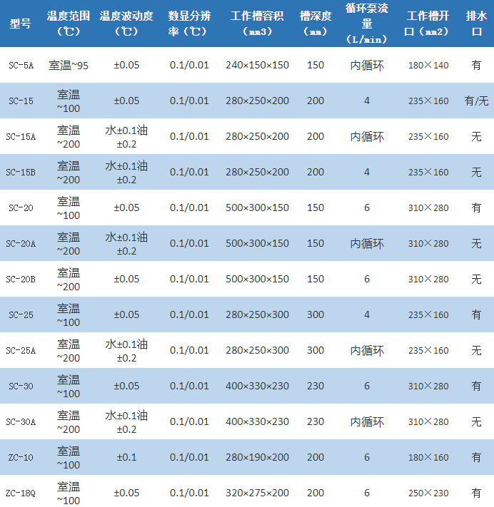
技術參數:

相關產品
共選擇 0件產品